7.1 排序算法的介绍
排序也称排序算法(Sort Algorithm),排序是将一组数据,依指定的顺序进行排列的过程。
7.2 排序的分类:
1) 内部排序:
指将需要处理的所有数据都加载到内部存储器(内存)中进行排序。
2) 外部排序法:
数据量过大,无法全部加载到内存中,需要借助外部存储(文件等)进行排序。
3) 常见的排序算法分类(见右图):
7.3 算法的时间复杂度
7.3.1度量一个程序(算法)执行时间的两种方法
1) 事后统计的方法
这种方法可行, 但是有两个问题:
一是要想对设计的算法的运行性能进行评测,需要实际运行该程序;
二是所得时间的统计量依赖于计算机的硬件、软件等环境因素, 这种方式,要在同一台计算机的相同状态下运行,才能比较那个算法速度更快。
2) 事前估算的方法
7.3.2 时间频度
1.基本介绍
时间频度:一个算法花费的时间与算法中语句的执行次数成正比例,哪个算法中语句执行次数多,它花费时间就多。一个算法中的语句执行次数称为语句频度或时间频度。记为T(n)。[举例说明]
2.举例说明-基本案例
3.举例说明-忽略常数项


结论:
- 2n+20 和 2n 随着n 变大,执行曲线无限接近, 20可以忽略
3n+10 和 3n 随着n 变大,执行曲线无限接近, 10可以忽略
4.举例说明-忽略系数


结论:随着n值变大,5n^2+7n 和 3n^2 + 2n ,执行曲线重合, 说明 这种情况下, 5和3可以忽略。
- 而n^3+5n 和 6n^3+4n ,执行曲线分离,说明多少次方式关键
7.3.3 时间复杂度
- 一般情况下,算法中的基本操作语句的重复执行次数是问题规模n的某个函数,用T(n)表示,若有某个辅助函数f(n),使得当n趋近于无穷大时,T(n) / f(n) 的极限值为不等于零的常数,则称f(n)是T(n)的同数量级函数。记作 T(n)=O( f(n) ),称O( f(n) ) 为算法的渐进时间复杂度,简称时间复杂度。
T(n) 不同,但时间复杂度可能相同。 如:T(n)=n²+7n+6 与 T(n)=3n²+2n+2 它们的T(n) 不同,但时间复杂度相同,都为O(n²)。
计算时间复杂度的方法:
用常数1代替运行时间中的所有加法常数 T(n)=n²+7n+6 => T(n)=n²+7n+1
- 修改后的运行次数函数中,只保留最高阶项 T(n)=n²+7n+1 => T(n) = n²
- 去除最高阶项的系数 T(n) = n² => T(n) = n² => O(n²)
7.3.4 常见的时间复杂度
- 常数阶O(1)
- 对数阶O(log2n)
- 线性阶O(n)
- 线性对数阶O(nlog2n)
- 平方阶O(n^2)
- 立方阶O(n^3)
- k次方阶O(n^k) 指
- 数阶O(2^n)

说明:
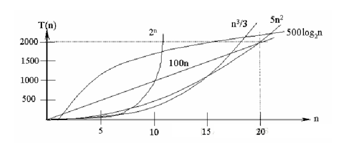
- 常见的算法时间复杂度由小到大依次为:Ο(1)<Ο(log2n)<Ο(n)<Ο(nlog2n)<Ο(n2)<Ο(n3)< Ο(nk) <Ο(2n) ,随着问题规模n的不断增大,上述时间复杂度不断增大,算法的执行效率越低
- 从图中可见,我们应该尽可能避免使用指数阶的算法
1.常数阶O(1)
无论代码执行了多少行,只要是没有循环等复杂结构,那这个代码的时间复杂度就都是O(1) 
上述代码在执行的时候,它消耗的时候并不随着某个变量的增长而增长,那么无论这类代码有多长,即使有几万几十万行,都可以用O(1)来表示它的时间复杂度。
2.对数阶O(log2n)
说明:在while循环里面,每次都将 i 乘以 2,乘完之后,i 距离 n 就越来越近了。假设循环x次之后,i 就大于 2 了,此时这个循环就退出了,也就是说 2 的 x 次方等于 n,那么 x = log2n也就是说当循环 log2n 次以后,这个代码就结束了。因此这个代码的时间复杂度为:O(log2n) 。 O(log2n) 的这个2 时间上是根据代码变化的,i = i * 3 ,则是 O(log3n) .
3.线性阶O(n)

说明:这段代码,for循环里面的代码会执行n遍,因此它消耗的时间是随着n的变化而变化的,因此这类代码都可以用O(n)来表示它的时间复杂度
4.线性对数阶O(nlogN)

说明:线性对数阶O(nlogN) 其实非常容易理解,将时间复杂度为O(logn)的代码循环N遍的话,那么它的时间复杂度就是 n * O(logN),也就是了O(nlogN)
5.平方阶O(n²)

说明:平方阶O(n²) 就更容易理解了,如果把 O(n) 的代码再嵌套循环一遍,它的时间复杂度就是 O(n²),这段代码其实就是嵌套了2层n循环,它的时间复杂度就是 O(nn),即 O(n²) 如果将其中一层循环的n改成m,那它的时间复杂度就变成了 O(mn)
6.立方阶O(n³)、K次方阶O(n^k)
说明:参考上面的O(n²) 去理解就好了,O(n³)相当于三层n循环,其它的类似
7.3.5 平均时间复杂度和最坏时间复杂度
- 平均时间复杂度是指所有可能的输入实例均以等概率出现的情况下,该算法的运行时间。
- 最坏情况下的时间复杂度称最坏时间复杂度。一般讨论的时间复杂度均是最坏情况下的时间复杂度。 这样做的原因是:最坏情况下的时间复杂度是算法在任何输入实例上运行时间的界限,这就保证了算法的运行时间不会比最坏情况更长。
- 平均时间复杂度和最坏时间复杂度是否一致,和算法有关(如图:)。




