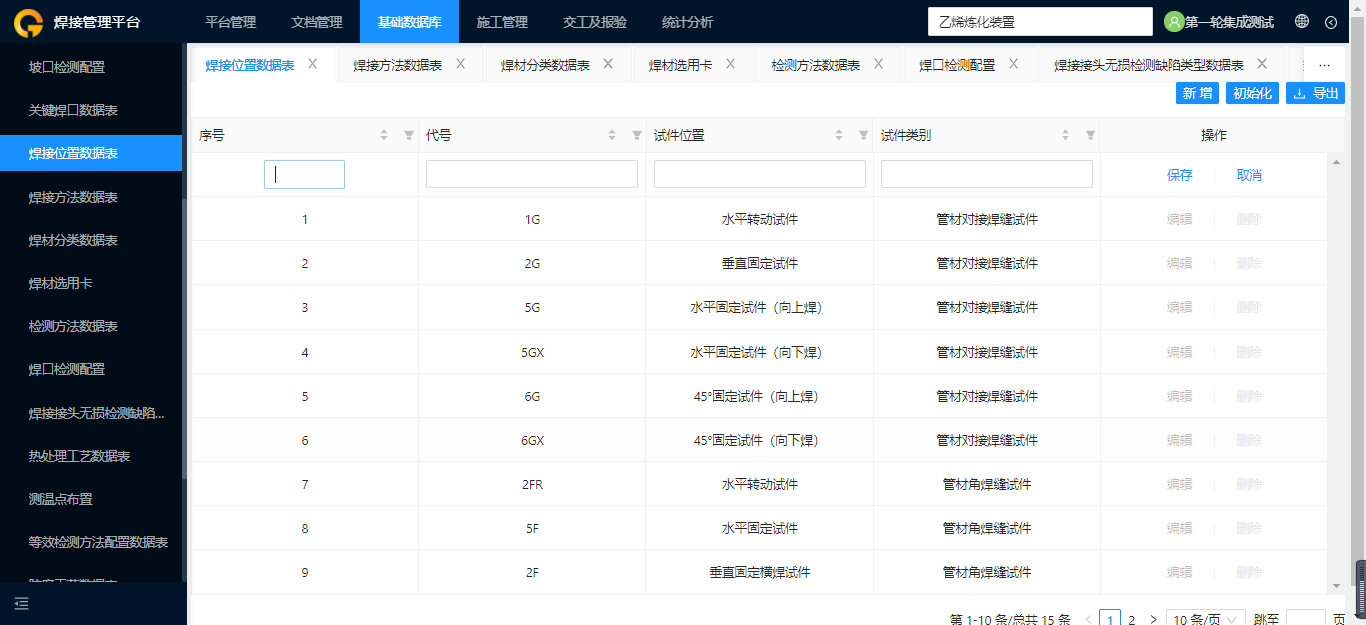
模块作用

本模块用于配置焊接位置信息。

列内容解释

「代号」列是对一条数据的唯一标记,类似于身份证号,在同一个装置内不允许重复。
「试件位置」列是用户对此形式自定义的名称,用于对外展示。

影响模块

本模块会作为「焊接日报」中的「焊接位置」列会引用本模块的数据。
参考帮助手册《焊接日报》章节 。
焊接日报

数据添加

用户可以点击焊接位置数据表 - 图1按钮,会自动插入系统内置的全部数据。如果内置数据不能满足用户的需求,可以自行添加或者修改数据。
image.png

数据展示

image.png