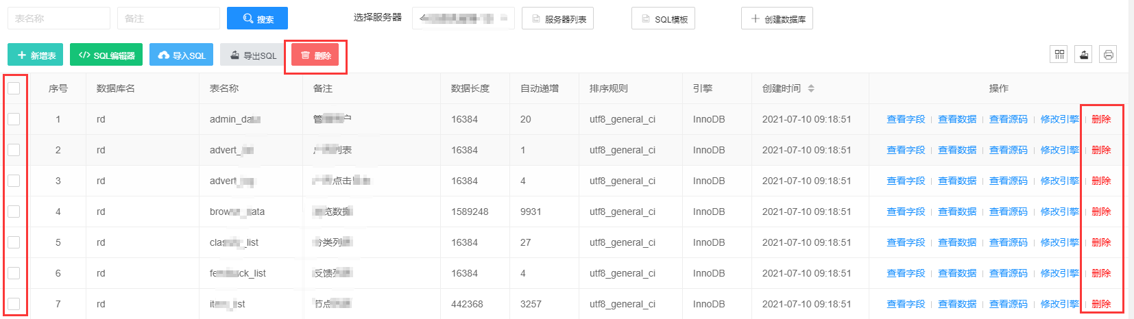
表的操作在“数据库表”页面,删除提供两种操作方式,分别是单个删除和批量删除,
    单个删除:对要删除的表,点击表行里面的删除按钮,再次点击“确认”按钮完成删除;
    批量删除:在表格第一列勾选要删除的表,其次点击表格上方最右边的“删除”按钮(至少要勾选一个表),点击“确定”按钮完成批量删除。
    注意:删除表会把表的所有信息都进行删除,包括表的字段,数据,此操作不可逆,操作请谨慎!
    image.png