防火墙相关概念<br /> 从逻辑上分类: <br /> 主机防火墙:为单个主机进行防护 <br /> 网络防火墙:对网络入口进行防护,服务防火墙背后的本地局域网 <br /> 主机防火墙(个人)和网络防火墙(集体)相辅相成!<br /> 从物理上分类: <br /> 硬件防火墙:硬件级别实现部分防火墙功能,另一部分功能基于软件实现,性能高,成本高。 <br /> 软件防火墙:应用软件处理逻辑运行于通用硬件平台上的防火墙,性能低,成本低
IPTABLES: 一个客户端代理,将用户的安全设定执行到对应的“安全框架——netfilter”中。
netfilter 才是防火墙真正的安全框架(framework),位于内核空间
netfilter——内核空间
iptables ———— 用户空间的客户端代理
将用户空间的安全设定通过代理执行到Netfilter当中
netfilter/iptables组成Linux平台下的包过滤防火墙(免费)
Netfilter是Linux操作系统核心层的一个数据包处理模块(iptables并没有守护进程,
所以不是正真的服务,而是内核提供的功能),具有如下功能:
网络地址转换
数据包内容修改
数据包过滤的防火墙功能
原理
IPtables根据它的rule匹配而对数据包进行:放行(accept),拒绝(reject)和丢弃(drop)等动作 rule存储在内核空间的信息过滤表中,这些规则指定:源地址、目的地址、传输协议(TCP、UDP、 ICMP等)和服务
类型(Http、FTP和SMTP)等
Netfilter位于内核空间中,是真正的防火墙,设置了“关卡”在Input、Output上(链)
网卡的驱动是在内核空间当中,Netfilter也是在内核空间当中,所以Iptables+netfilter 可以在内核空间 当中
设置“关卡”, 当用户去访问应用服务时,数据包是通过网卡流经内核空间之后到达用户空间。
防火墙除了软件及硬件的分类,也可对数据封包的取得方式来分类,可分为代理服务器(Proxy)及封 包过滤机制(IP Filter)。
代理服务
是一种网络服务,通常就架设在路由上面,可完整的掌控局域网的对外连接。
IP Filter
这种方式可以直接分析最底层的封包表头数据来进行过滤,所以包括 MAC地址, IP, TCP, UDP, ICMP 等封包的信息都可以进行过滤分析的功能,用途非常广泛。
其实Iptables服务不是真正的防火墙,只是用来定义防火墙规则功能的”防火墙管理工具”,将定义好的规 则交由内核中的netfilter即网络过滤器来读取,从而真正实现防火墙功能。
iptables抵挡封包的方式:
拒绝让 Internet 的封包进入 Linux 主机的某些 port
拒绝让某些来源 IP 的封包进入
拒绝让带有某些特殊标志( flag )的封包进入
分析硬件地址(MAC)来提供服务
五链四表

五链
iptables命令中设置数据过滤或处理数据包的策略叫做规则,将多个规则合成一个链,叫规则链。
规则链则依据处理数据包的位置不同分类
PREROUTING
在进行路由判断之前所要进行的规则(DNAT/REDIRECT)
INPUT
处理入站的数据包
OUTPUT
处理出站的数据包
FORWARD
处理转发的数据包
POSTROUTING
在进行路由判断之后所要进行的规则(SNAT/MASQUERADE)
不同数据包经过链的情况
如果我们需要报文转发,则不经过Input链,Outpup链
只需要:PREROUTING(路由前),转发(forward),路由后(postrouting)
常用应用场景,报文流向:
到本地某个进程的报文:PREROUTING‐‐> INPUT‐‐>OUTPUT ‐‐>POSTROUTING
由本机转发的报文:PREROUTING ‐‐> FORWARD ‐‐> POSTROUTING
由本机的某个进程发出报文(通常为响应报文): OUTPUT ‐‐> POSTROUTING
四表
iptables中的规则表是用于容纳规则链,规则表默认是允许状态的,那么规则链就是设置被禁止的规 则,而反之如果规则表是禁止状态的,那么规则链就是设置被允许的规则。
raw
关闭nat上启用的连接追踪机制
mangle表
拆解报文、修改报文、重新封装报文
nat表
网络地址转换
filter表
负责过滤功能,防火墙 ![6CDDMF3CR_}6HBYH~BC75]7.png](/uploads/projects/u21007123@kih3qx/5b1d4e1203ee3493cc0e7d36b21b27b8.png)
规则表的先后顺序:raw→mangle→nat→filter
表链关系
相同规则的集合叫做表,多张表的集合叫做链
不是每条链上都有四张表
PREROUTING:raw/mangle/nat
INPUT:mangle/filter/nat
OUTPUT:raw/mangle/nat/filter
POSTROUTING:mangle/nat
FORWARD:mangle/filter
实际上在操作过程中,是通过表作为入口进行操作,通过表查询定义的规则,操作规
开启linux路由转发功能(默认是关闭的):
[root@eagle ~]# echo 1 > /proc/sys/net/ipv4/ip_forward
规则概念
规则:根据指定的匹配条件来尝试匹配每个经流“关卡”的报文,一旦匹配成功,则由规则后面指定 的处理动作 进行处理
匹配条件
基本匹配条件:sip、dip
扩展匹配条件:sport、dport
扩展条件也是条件的一部分,只不过使用的时候需要用-m参数声明对应的模块
处理动作
常用动作
accept:接受
drop:丢弃
reject:拒绝
snat:源地址转换,解决内网用户同一个公网地址上上网的问题
masquerade:是snat的一种特殊形式,使用动态的、临时会变的ip上
dnat:目标地址转换 redirect:在本机作端口映射
log:记录日志,/var/log/messages文件记录日志信息,然后将数据包传递给下一条规则
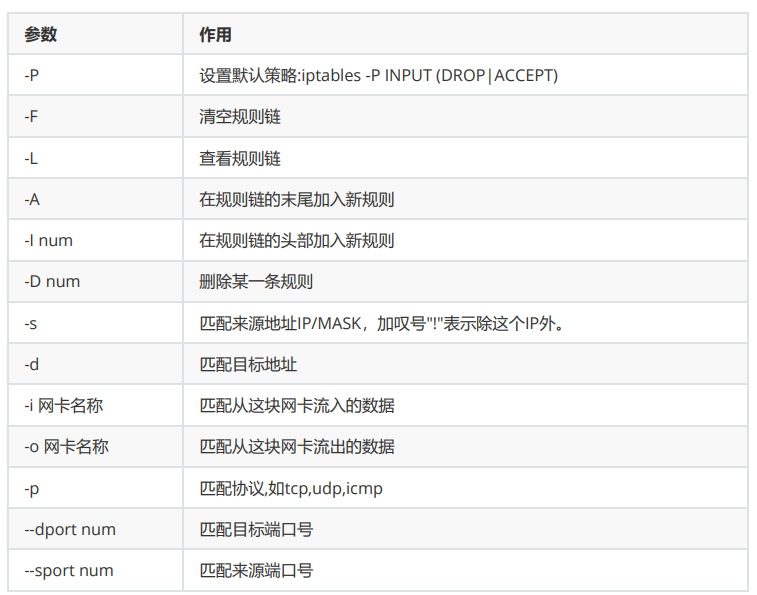
iptables用法
常用格式:
iptables [-t 表名] 选项 [链名] [条件] [-j 控制类型]iptables –[A|I 链] [-i|o 网络接口] [-p 协议] [-s 来源ip/网域] [-d 目标ip/网域] –j[ACCEPT|DROP]
![JD))IR6)2(V0PQP7G~4ZAU.png
查看规则
[root@localhost ~]# iptables [-t tables] [-L] [-nv]参数:-t:指定表名,默认是filter表-L:指定链名,默认是所有链-v:显示详细信息-x:展开数字[root@eagle ~]# iptables -t filter -vxL INPUTChain INPUT (policy ACCEPT 0 packets, 0 bytes)pkts bytes target prot opt in out sourcedestination660 53431 ACCEPT all -- any any anywhereanywhere ctstate RELATED,ESTABLISHED4 204 ACCEPT all -- lo any anywhereanywhere32 2660 INPUT_direct all -- any any anywhereanywhere32 2660 INPUT_ZONES_SOURCE all -- any any anywhereanywhere32 2660 INPUT_ZONES all -- any any anywhereanywhere0 0 DROP all -- any any anywhereanywhere ctstate INVALID30 2556 REJECT all -- any any anywhereanywhere reject-with icmp-host-prohibited# 每个字段的解释policy:当前链的默认策略,当所有规则都没有匹配成功时执行的策略packets:当前链默认策略匹配到的包的数量bytes:当前链默认策略匹配到的包的大小pkts:对应规则匹配到的包数量bytes:对应规则匹配到的包大小target:对应规则执行的动作prot:对应的协议,是否针对某些协议应用此规则opt:规则对应的选项in:数据包由哪个接口流入out:数据包由哪个接口流出source:源ip地址distination:目的ip地址
规则操作
清除所有规则
[root@server1 ~]# iptables -t filter -F INPUT
增加规则
[root@server1 ~]# iptables -A INPUT -s 192.168.80.1 -j DROP
删除规则
删除规则方法1,根据规则的编号进行删除规则方法2,根据具体的匹配条件去删除规则iptables -t filter -D INPUT 3iptables -t filter -D INPUT [匹配条件] [处理动作]-D只是删除某一条规则,-F是清除整条链上的规则[root@server1 ~]# iptables -vxL INPUT --line-numbersChain INPUT (policy ACCEPT 4 packets, 299 bytes)num pkts bytes target prot opt in out sourcedestination1 162 11052 ACCEPT all -- any any 192.168.80.0/24anywhere[root@server1 ~]# iptables -t filter -D INPUT 1[root@server1 ~]# iptables -vxL INPUT --line-numbersChain INPUT (policy ACCEPT 14 packets, 1020 bytes)num pkts bytes target prot opt in out sourcedestination[root@server1 ~]# iptables -A INPUT -s 192.168.80.0/24 -j ACCEPT[root@server1 ~]# iptables -vxL INPUT --line-numbersChain INPUT (policy ACCEPT 1 packets, 76 bytes)num pkts bytes target prot opt in out sourcedestination1 10 724 ACCEPT all -- any any 192.168.80.0/24anywhere[root@server1 ~]# iptables -t filter -D INPUT -s 192.168.80.0/24 -j ACCEPT[root@server1 ~]# iptables -vxL INPUT --line-numbersChain INPUT (policy ACCEPT 6 packets, 428 bytes)num pkts bytes target prot opt in out sourcedestination
修改单个规则
[root@server1 ~]# iptables -vxL INPUT --line-numbersChain INPUT (policy ACCEPT 1 packets, 71 bytes)num pkts bytes target prot opt in out sourcedestination1 21 1440 ACCEPT all -- any any 192.168.80.0/24anywhere[root@server1 ~]# iptables -t filter -R INPUT 1 -s 192.168.80.0/24 -j REJECT
修改链的默认规则
语法:iptables -t filter -P INPUT [处理动作]
保存与恢复
iptables-save /etc/sysconfig/iptablesiptables-restore < /etc/sysconfig/iptables
转发本地端口
[root@localhost ~]# iptables -t nat -A PREROUTING -p tcp --dport 6666 -jREDIRECT --to-port 22
自定义链
当默认链的规则非常多的时候,不方便管理。比如有五十条针对http的规则,有两条针对ssh规则的,有 一条针对icmp为了方便管理可以将五十条的http规则重新写到一个自定义链中
使用自定义链
创建自定义链iptables -t filter -N http_chain引用自定义链iptables -I INPUT -p tcp --dport 80 -j http_chain创建规则(和五链使用方法一样)iptables -t filter -A http_chain -s 192.168.80.1 -j REJECTiptables -t filter -A http_chain -s 10.1.0.0/16 -j REJECT
删除自定义链
删除引用[root@localhost ~]# iptables -t filter -D INPUT -p tcp --dport 80 -jhttp_chain删除链上所有规则[root@localhost ~]# iptables -F http_chain删除链[root@localhost ~]# iptables -X http_chain
匹配条件
匹配条件
-s:指定源ip地址
-d:指定目的ip地址
-p:指定协议类型
-i:指定网卡流入,PREROUTING/INPUT/FORWARD
-o:指定网卡流出,OUTPUT/POSTROUTING
拓展条件
-m 扩展模块
tcp/udp
—dport:指定目的端口
—sport:指定源端口
iprange:匹配报文的源/目的地址所在范围
—src-range
—dst-range
string:指定匹配报文中的字符串
—algo:指定匹配算法,可以是bm/kmp
—string:指定需要匹配的字符串
time:指定匹配报文的时间
—timestart
—timestop
—weekdays
—mouthdays
—datestart
—datestop
connlimit:限制每个ip连接到server端的数量,不需要指定ip默认就是针对每个ip地址
—connlimit-above:最大连接数
limit:对报文到达的速率继续限制,限制包数量
10/second
10/minute
10/hour
10/day
—limit-burst:空闲时可放行的包数量,默认为5
state模块:用于针对tcp连接进行限制
—state NEW:连接中的第一个包的状态是NEW
ESTABLISHED:NEW状态后面的包是ESTABLISHED
RELATED:与命令连接中的报文有关系,比如ftp服务有连个进程,一个是命令进程一个是数据 进程
INVALID:如果一个包没有办法被识别,或者这个包没有任何装填,我们是能够主动屏蔽状态为 INVALID的报文
UNTRACKED:表示报文为未被追踪状态
案例练习
iptables实例练习
1. 删除已有规则
在开始创建iptables规则之前,你也许需要删除已有规则。命令如下:
iptables -F
(or)
iptables –flush
2.设置链的默认策略
链的默认政策设置为”ACCEPT”(接受),若要将INPUT,FORWARD,OUTPUT链设置成”DROP”(拒 绝),命令如下:
iptables -P INPUT DROP
iptables -P FORWARD
DROP iptables -P OUTPUT DROP
当INPUT链和OUTPUT链都设置成DROP时,对于每一个防火墙规则,我们都应该定义两个规则。例如: 一个传入另一个传出。在下面所有的例子中,由于我们已将DROP设置成INPUT链和OUTPUT链的默认策 略,每种情况我们都将制定两条规则。当然,如果你相信你的内部用户,则可以省略上面的最后一行。例 如:默认不丢弃所有出站的数据包。在这种情况下,对于每一个防火墙规则要求,你只需要制定一个规则 ——只对进站的数据包制定规则。
3. 阻止指定IP地址
例:丢弃来自IP地址x.x.x.x的包
BLOCK_THIS_IP=”x.x.x.x”
iptables -A INPUT -s “$BLOCK_THIS_IP” -j DROP
注:当你在log里发现来自某ip地址的异常记录,可以通过此命令暂时阻止该地址的访问以做更深入分析
例:阻止来自IP地址x.x.x.x eth0 tcp的包
4. 允许所有SSH的连接请求
例:允许所有来自外部的SSH连接请求,即只允许进入eth0接口,并且目标端口为22的数据包
iptables -A INPUT -i eth0 -p tcp —dport 22 -m state —state NEW,ESTABLISHED -j ACCEPT
iptables -A OUTPUT -o eth0 -p tcp —sport 22 -m state —state ESTABLISHED -j ACCEPT
5. 仅允许来自指定网络的SSH连接请求
例:仅允许来自于192.168.100.0/24域的用户的ssh连接请求
iptables -A INPUT -i eth0 -p tcp -s 192.168.100.0/24 —dport 22 -m state —state NEW,ESTABLISHED -j ACCEPT iptables -A OUTPUT -o eth0 -p tcp —sport 22 -m state —state ESTABLISHED -j ACCEPT
6.允许http和https的连接请求
例:允许所有来自web - http的连接请求
iptables -A INPUT -i eth0 -p tcp —dport 80 -m state —state NEW,ESTABLISHED -j ACCEPT
iptables -A OUTPUT -o eth0 -p tcp —sport 80 -m state —state ESTABLISHED -j ACCEPT
例:允许所有来自web - https的连接请求
iptables -A INPUT -i eth0 -p tcp —dport 443 -m state —state NEW,ESTABLISHED -j ACCEPT
iptables -A OUTPUT -o eth0 -p tcp —sport 443 -m state —state ESTABLISHED -j ACCEPT
使用multiport 将多个规则结合在一起
允许多个端口从外界连入,除了为每个端口都写一条独立的规则外,我们可以用multiport将其组合成一 条规则。如下所示:
例:允许所有ssh,http,https的流量访问
iptables -A INPUT -i eth0 -p tcp -m multiport —dports 22,80,443 -m state —state NEW,ESTABLISHED -j ACCEPT iptables -A OUTPUT -o eth0 -p tcp -m multiport —sports 22,80,443 -m state —state ESTABLISHED -j ACCEPT
8. 允许从本地发起的SSH
iptables -A OUTPUT -o eth0 -p tcp —dport 22 -m state —state NEW,ESTABLISHED -j ACCEPT
iptables -A INPUT -i eth0 -p tcp —sport 22 -m state —state ESTABLISHED -j ACCEPT请注意,这与允许ssh连入的规则略有不同。本例在OUTPUT链上,我们允许NEW和ESTABLISHED状态。 在INPUT链上,我们只允许ESTABLISHED状态。ssh连入的规则与之相反。
仅允许从本地发起到一个指定的网络域的SSH请求
例:仅允许从内部连接到网域192.168.100.0/24
iptables -A OUTPUT -o eth0 -p tcp -d 192.168.100.0/24 —dport 22 -m state —state NEW,ESTABLISHED -j ACCEPT
iptables -A INPUT -i eth0 -p tcp —sport 22 -m state —state ESTABLISHED -j ACCEPT允许从本地发起的HTTPS连接请求
下面的规则允许输出安全的网络流量。如果你想允许用户访问互联网,这是非常有必要的。在服务器 上,这些规则能让你使用wget从外部下载一些文件iptables -A OUTPUT -o eth0 -p tcp —dport 443 -m state —state NEW,ESTABLISHED -j ACCEPT
iptables -A INPUT -i eth0 -p tcp —sport 443 -m state —state ESTABLISHED -j ACCEPT
注:对于HTTP web流量的外联请求,只需要将上述命令中的端口从443改成80即可。负载平衡传入的网络流量
使用iptables可以实现传入web流量的负载均衡,我们可以传入web流量负载平衡使用iptables防火墙规 则。
例:使用iptables nth将HTTPS流量负载平衡至三个不同的ip地址。
iptables -A PREROUTING -i eth0 -p tcp —dport 443 -m state —state NEW -m nth —counter 0 —every 3 —packet 0 -j DNAT —to-destination 192.168.1.101:443
iptables -A PREROUTING -i eth0 -p tcp —dport 443 -m state —state NEW -m nth —counter 0 —every 3 —packet 1 -j DNAT —to-destination 192.168.1.102:443
iptables -A PREROUTING -i eth0 -p tcp —dport 443 -m state —state NEW -m nth —counter 0 —every 3 —packet 2 -j DNAT —to-destination 192.168.1.103:443
允许外部主机ping内部主机
iptables -A INPUT -p icmp —icmp-type echo-request -j ACCEPT
iptables -A OUTPUT -p icmp —icmp-type echo-reply -j ACCEPT允许内部主机ping外部主机
iptables -A OUTPUT -p icmp —icmp-type echo-request -j ACCEPT
iptables -A INPUT -p icmp —icmp-type echo-reply -j ACCEPT允许回环访问
例:在服务器上允许127.0.0.1回环访问。
iptables -A INPUT -i lo -j ACCEPT
iptables -A OUTPUT -o lo -j ACCEPT允许内部网络域外部网络的通信
防火墙服务器上的其中一个网卡连接到外部,另一个网卡连接到内部服务器,使用以下规则允许内部网 络与外部网络的通信。此例中,eth1连接到外部网络(互联网),eth0连接到内部网络(例 如:192.168.1.x)。
iptables -A FORWARD -i eth0 -o eth1 -j ACCEPT允许出站的DNS连接
iptables -A OUTPUT -p udp -o eth0 —dport 53 -j ACCEPT
iptables -A INPUT -p udp -i eth0 —sport 53 -j ACCEPT允许NIS连接
如果你使用NIS管理用户帐户,你需要允许NIS连接。如果你不允许NIS相关的ypbind连接请求,即使 SSH连接请求已被允许,用户仍然无法登录。NIS的端口是动态的,先使用命令rpcinfo –p来知道端口 号,此例中为853和850端口。
rpcinfo -p | grep ypbind
例:允许来自111端口以及ypbind使用端口的连接请求
iptables -A INPUT -p tcp —dport 111 -j ACCEPT
iptables -A INPUT -p udp —dport 111 -j ACCEPT
iptables -A INPUT -p tcp —dport 853 -j ACCEPT
iptables -A INPUT -p udp —dport 853 -j ACCEPT
iptables -A INPUT -p tcp —dport 850 -j ACCEPT
iptables -A INPUT -p udp —dport 850 -j ACCEPT
注:当你重启ypbind之后端口将不同,上述命令将无效。有两种解决方案:1)使用你NIS的静态IP 2) 编写shell脚本通过“rpcinfo - p”命令自动获取动态端口号,并在上述iptables规则中使用。允许来自指定网络的rsync连接请求
例:允许来自网络192.168.101.0/24的rsync连接请求
iptables -A INPUT -i eth0 -p tcp -s 192.168.101.0/24 —dport 873 -m state —state NEW,ESTABLISHED -j ACCEPT iptables -A OUTPUT -o eth0 -p tcp —sport 873 -m state —state ESTABLISHED -j ACCEPT允许来自指定网络的MySQL连接请求
很多情况下,MySQL数据库与web服务跑在同一台服务器上。有时候我们仅希望DBA和开发人员从内部 网络(192.168.100.0/24)直接登录数据库,可尝试以下命令:
iptables -A INPUT -i eth0 -p tcp -s 192.168.100.0/24 —dport 3306 -m state —state NEW,ESTABLISHED -j ACCEPT
iptables -A OUTPUT -o eth0 -p tcp —sport 3306 -m state —state ESTABLISHED -j ACCEPT允许Sendmail, Postfix邮件服务
Sendmail和postfix都使用了25端口,因此我们只需要允许来自25端口的连接请求即可。
iptables -A INPUT -i eth0 -p tcp —dport 25 -m state —state NEW,ESTABLISHED -j ACCEPT
iptables -A OUTPUT -o eth0 -p tcp —sport 25 -m state —state ESTABLISHED -j ACCEPT允许IMAP和IMAPS
例:允许IMAP/IMAP2流量,端口为143
iptables -A INPUT -i eth0 -p tcp —dport 143 -m state —state NEW,ESTABLISHED -j ACCEPT
iptables -A OUTPUT -o eth0 -p tcp —sport 143 -m state —state ESTABLISHED -j ACCEPT
例:允许IMAPS流量,端口为993
iptables -A INPUT -i eth0 -p tcp —dport 993 -m state —state NEW,ESTABLISHED -j ACCEPT
iptables -A OUTPUT -o eth0 -p tcp —sport 993 -m state —state ESTABLISHED -j ACCEPT允许POP3和POP3S
例:允许POP3访问
iptables -A INPUT -i eth0 -p tcp —dport 110 -m state —state NEW,ESTABLISHED -j ACCEPT
iptables -A OUTPUT -o eth0 -p tcp —sport 110 -m state —state ESTABLISHED -j ACCEPT
例:允许POP3S访问
iptables -A INPUT -i eth0 -p tcp —dport 995 -m state —state NEW,ESTABLISHED -j ACCEPT
iptables -A OUTPUT -o eth0 -p tcp —sport 995 -m state —state ESTABLISHED -j ACCEPT- 防止DoS攻击
iptables -A INPUT -p tcp —dport 80 -m limit —limit 25/minute —limit-burst 100 -j ACCEPT
上述例子中:
-m limit: 启用limit扩展
–limit 25/minute: 允许最多每分钟25个连接(根据需求更改)。
–limit-burst 100: 只有当连接达到limit-burst水平(此例为100)时才启用上述limit/minute限制。- 端口转发
例:将来自422端口的流量全部转到22端口。
这意味着我们既能通过422端口又能通过22端口进行ssh连接。启用DNAT转发。
iptables -t nat -A PREROUTING -p tcp -d 192.168.102.37 —dport 422 -j DNAT —to 192.168.102.37:22 除此之外,还需要允许连接到422端口的请求
iptables -A INPUT -i eth0 -p tcp —dport 422 -m state —state NEW,ESTABLISHED -j ACCEPT
iptables -A OUTPUT -o eth0 -p tcp —sport 422 -m state —state ESTABLISHED -j ACCEPT
另外一种方法:![YT]F`47Y_DUTGK`2U$_RA)O.png](/uploads/projects/u21007123@kih3qx/8956f450a4122a5fb5a2efa5390d0f7b.png)
25. 记录丢弃的数据表
第一步:新建名为LOGGING的链
iptables -N LOGGING
第二步:将所有来自INPUT链中的数据包跳转到LOGGING链中
iptables -A INPUT -j LOGGING
第三步:为这些包自定义个前缀,命名为”IPTables Packet Dropped”
iptables -A LOGGING -m limit —limit 2/min -j LOG —log-prefix “IPTables Packet Dropped: “ —loglevel 7
第四步:丢弃这些数据包
iptables -A LOGGING -j DROP
