概述
物料提取是通过OCR识别技术,或直接读取PDF的方式将图纸中的物料信息提取到系统中,大大减少了现场在施工过程的初期提取物料所耗费的时间成本
功能描述
物料提取分为分区总料表、物料提取配置、物料提取、物料料表、物料统计。该功能在提取数据之前,需要先上传分区总料表,然后配置物料所在区域和腐蚀度配置。
在配置完成之后,就可以创建物料提取任务。系统会在材料提取完成之后提供在线查看并纠正解析结果和下 载结果Excel 两种方式查看。在纠正为完成之后,系统会根据纠正的错误,在后台自动生成纠正库,若相应物料编码再次出现同样的问题,系统会自动纠正错误。
用户在验证完解析结果之后,可以重新导入到系统,通过物料统计进行与总料表比对,或者统计管线料表、分区料表、单位工程料表、装置料表。
操作步骤
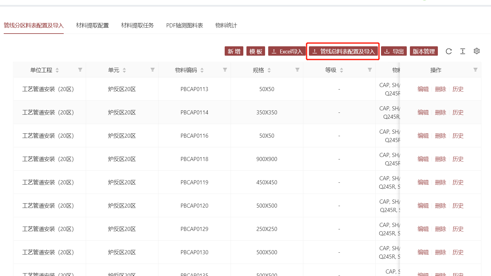
- 上传分区总料表
- 将管线总料表的PDF转为Excel
- 选择管线总料表配置及导入

- 选择所要上传的分区图纸

- 根据Excel 的格式将对应的列填入到

- 配置图纸物料区域,画出图纸中物料所在区域,并划分物料编码,物料描述,规格,数量等列。

- 配置腐蚀度解析,根据用户提供的样例 将腐蚀度配置到适合的位置。

- 创建图纸物料提取任务
- 点击新建解析任务

- 选择想要解析的管线,或者选择提取所有管线
- 选择图纸类型,若不明确图纸类型,可交由系统自动识别(但可能会识别错误)
- 点击确定,创建解析任务成功
- 查看物料提取结果
- 通过下载Excel方式,查看解析结果
- 在线查看解析结果
- 纠正物料提取结果, 在物料提取结果,若是通过Excel的方式修改结果,则需要在物料料表页面重新导入到系统。
- 查看物料料表 和物料统计
