商帆SCRM更新操作指引
白天
夜间
首页
下载
阅读记录
书签管理
我的书签
添加书签
移除书签
券发放查询
浏览
101
扫码
分享
2023-11-26 15:19:03
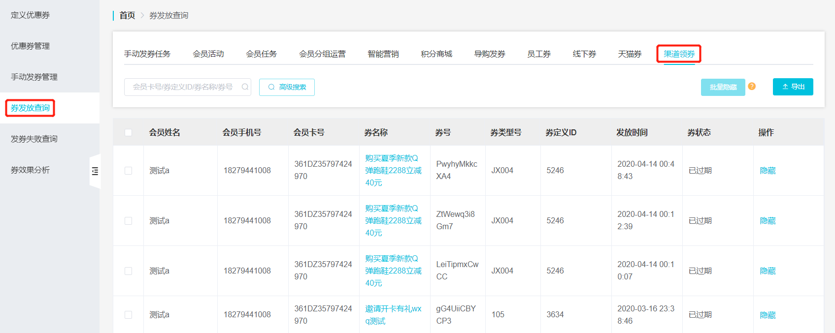
渠道领券
渠道领券
新增
渠道领券
查询分页,可查看所有调用商帆领券接口进行发券的记录。
若有收获,就点个赞吧
0 人点赞
上一篇:
下一篇:
企业管理
基础信息
店铺管理
运营组织
¥经销商档案
店铺列表
¥门店对照管理
群组管理
店铺员工
会员管理
会员信息管理
会员卡档案
卡等级管理
会员卡制度
会员降级
【定制】线下消费积分计算规则
【定制】冻结配置
【定制】冻结记录
等级变更记录
优惠券管理
定义优惠券
券发放查询
会员营销
会员活动
互动游戏
消息管理
积分消息配置
商城订单消息配置
数据报表
综合报表
暂无相关搜索结果!
让时间为你证明
分享,让知识传承更久远
×
文章二维码
×
手机扫一扫,轻松掌上读
文档下载
×
请下载您需要的格式的文档,随时随地,享受汲取知识的乐趣!
PDF
文档
EPUB
文档
MOBI
文档
书签列表
×
阅读记录
×
阅读进度:
0.00%
(
0/0
)
重置阅读进度
×
思维导图备注