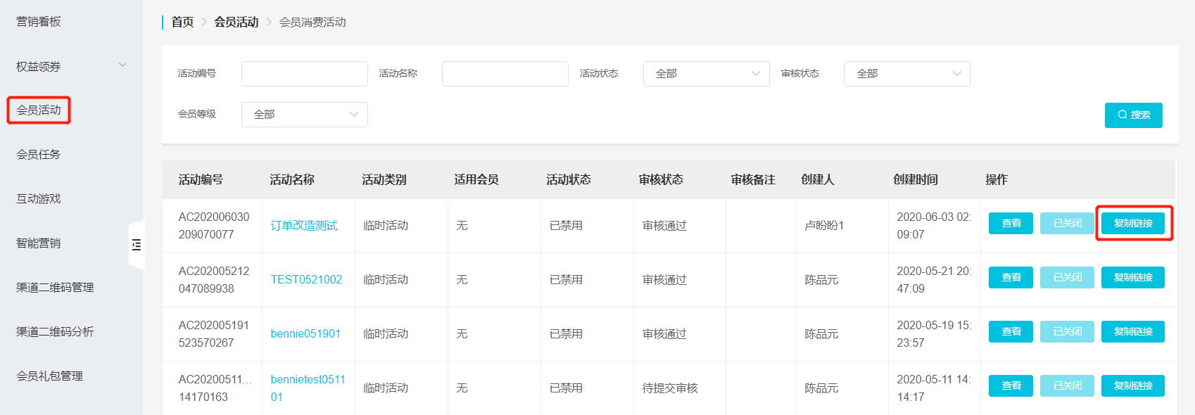
活动链接

查看活动列表页,操作列新增【复制链接】按钮。
image.png

  1. 点击目标活动的【复制链接】按钮,将目标活动详情页链接复制到粘贴板,弹窗提示“复制成功”或复制失败理由,提示3秒后自动消失。
  2. 活动链接可在微信公众号后台添加到公众号文章中,或配置到公众号菜单中,可缩短顾客触达路径。