网络基础
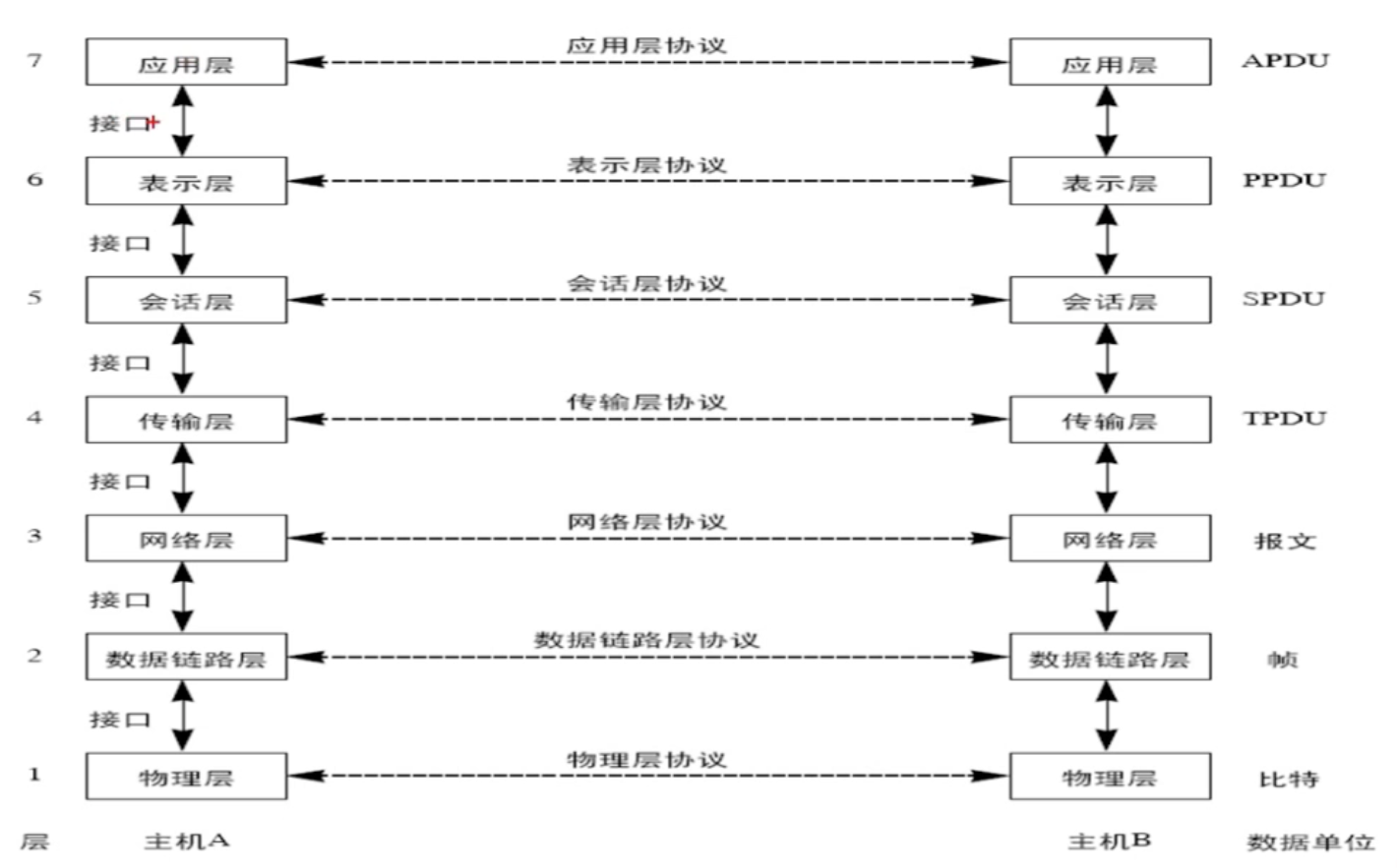
ISO/OSI七层模型
1、iso/osi/ios
2、七层模型图

3、分层便于管理
- 1~4 传输层
- 5~7 应用层
4、mac地址和IP地址
- mac地址作为局域网通信
- ip地址作为外网通信
| 应用层 | 用户接口 | 用户a登录给用户b发送邮件 | 用户b获取到a的信息 |
|---|---|---|---|
| 表示层 | 数据的表现形式、加密、压缩等特点功能的实现 | 文字翻译成ascll码、utf8、压缩文件、图片、加密等 | 解密 |
| 会话层 | 对应用会话的管理、同步 | 投给传输层 | 投给表示层 |
| 传输层 | 确定可靠(tcp)与不可靠(udp)的传输、传输前的错误检测、流控 | 确定tcp协议、发送端口25、接受端口110 | |
| 网络层 | 提供逻辑地址、选路 | 本机跟目标地址写入 | 指定地址 |
| 数据链路层 | 成帧、用mac地址访问媒介、错误检测与修正 | 扔进“邮筒”(局域网传递) | 投递 |
| 物理层 | 设备之间的比特流的传输、物理接口、电气特性等,如:网线、网卡 | 发送 | 接受 |
TCP/IP四层模型
| TCP/IP 四层模型 | 功能 | OSI 七层模型 |
|---|---|---|
| 应用层 | 应用层对应于OSI参考模型的高层,为用户提供所需要的各种服务例如:FTP、 Telnet、DNS、SMTP等 | 应用层 |
| 表示层 | ||
| 会话层 | ||
| 传输层 | 传输层对应于OSI参考模型的传输层,为应用层实体提供端到端的通信功能,保证了数据包的顺序传送及数据的完整性。该层定义了两个主要的协议:传输控制协议(TCP)和用户数据报协议(UDP) | 传输层 |
| 网际互联层 | 网际互联层对应于OSI参考模型的网络层,主要解决主机到主机的通信问题。它所包含的协议设计数据包在整个网络上的逻辑传输。该层有三个主要协议:网际协议(IP)、互联网组管理协议(IGMP)和互联网控制报文协议(ICMP)。 | 网络层 |
| 网络接口层 | 网络接入层与OSI参考模型中的物理层 和 数据链路层相对应它负责监视数据在主机和网络之间的変換。事实上,TCP/IP本身并未定义该层的协议,而由参与互连的各网络使用自己的物理层和数据链路层协议,然后与 TCP/IP的网络接入层进行连接。地址解析协议(ARP)工作在此层,即OSI参考模型的数据链路层。 | 数据链路层 |
| 物理层 |
1、三次握手
2、tcp与udp
| tcp(打电话) | udp(发短信) |
|---|---|
| a=>b : 在吗? | 老地点!不见不散 |
| b=>a : 在!怎么了? | |
| a=>b : 我要。。。。 | |
3、数据封装过程
IP地址
1、包头

固定字节20=32*5 / 8
2、IP地址分类

3、子网掩码

端口作用
1、端口号是什么
| ip | 端口 |
|---|---|
| 地址 | 收件人 |
2、tcp包头

3、udp包头

4、常见的端口

5、查看本机端口
netstat -an
| -a | 查看所有连接和监听端口 |
|---|---|
| -n | 显示IP地址和端口号,而不显示域名和服务名 |
DNS作用
1、作用
分布式解析域名
2、Hosts文件
3、解析流程
4、域名空间结构

5、DNS查询过程

6、DNS查询类型
| 查询方式 | 递归查询 | 要么做出查询成功响应,要么作出查询失败的响应一般客户机和服务器之间属递归査询,即当客户机向DNS服务器发出请求后若DNS服务器本身不能解析,则会向另外的DNS服务器发出查询请求,得到结果后转交给客户机 |
|---|---|---|
| 迭代查询 | 服务器收到一次迭代查询回复一次结果,这个结果不一定是目标IP与域名的映射关系,也可以是其它DNS服务器的地址 | |
| 查询内容 | 正向查询 | 正向查询由域名查找IP地址 |
| 反向查询 | 反向查询由IP地址查找域名 |
网关作用
1、网关的作用
- 网关( gateway)又称网间连接器、协议转換器。
- 网关在网络层以上实现网络互连,是最复杂的网络互连设备,仅用于两个高层协议不同的网络互连。
- 网关既可以用于广域网互连,也可以用于局域网互连。
- 网关是一种充当转换重任的服务器或路由器。

| 总结 |
|---|
| 内网:不同网段通信时使用 |
| 外网:负责将内网IP转换为公网IP、公网IP转换为内网IP |
Linux网络配置
配置IP地址方法
| ifconfig临时配置 |
|---|
| setup工具永久配置IP地址 |
| 修改网络配置文件 |
| 图形界面配置IP地址 |
1、ifconfig

2、setup
红帽专属
3、修改网络配置文件
网络配置文件
| vi /etc/sysconfig/network-scripts/ifcfg-eth0 | 网卡配置文件 |
|---|---|
| vi /etc/sysconfig/network | 主机名文件 |
| vi /etc/resolv.conf | DNS配置文件 |
1、网卡配置文件

2、主机名文件
3、DNS配置文件

虚拟机网络配置
1、setup配置IP
2、启动网卡【修改网卡配置文件】
3、修改UUID【解决冲突】
| 删除mac地址行【网卡配置文件】 |
|---|
| 删除网卡和mac地址绑定文件【rm-rf /etc/udev/rules. d/70-persistent-net.rules】 |
| 重启系统 |
4、设置网络连接方式
建议桥接
5、设置桥接网卡
DHCP
1、自动获得服务器分配的IP地址和子网掩码
Linux网络命令
网络环境查看命令
1、查看网络配置信息命令
#查看网络配置信息ifconfig
2、启用关闭网卡
#禁用网卡设备ifdown 网卡设备名#启用网卡设备ifup 网卡设备名
3、网络状态查询
netstat 选项netstat -an | grep ESTABLISHED | wc -l
4、路由
# 查看路由列表route -n# 临时设定网关route add default gw 192.168.1.1
5、DNS域名解析、查看
nslookup [wwww.xxx.com]

网络测试命令
1、ping命令
2、telnet命令

3、traceroute路由跟踪命令
4、wget网络下载命令
5、tcpdump抓包命令

远程登录工具
SSH协议原理
1、对称加密算法
2、非对称加密算法
3、SSH命令





