管理控制台页面是一个数据聚合与数据录入为主的页面。简言而之,其核心就是报表与表单的显示。如果保证用户在查看数据能一眼看到核心数据,录入数据时能按部就班地录入就很看重控制台产品的UI设计了。
页面布局
页面布局划分
页面整体布局应该分为三大区域:导航区域,侧栏区域与内容区域
- 导航区域,显示系统相关信息、用户信息;应该顶部悬浮。
- 侧栏区域,显示系统的菜单,应该侧边悬浮,不与内容区域一起滚动
- 内容区域,是整个系统的核心区域,所有核心信息都位于此处。内容区域应该包含面包屑导航。

表单
表单是一个数据录入最核心的功能,其应该包括数据输入、数据导入、数据查看。
表单录入
建议点
- 表单输入框/输入内容应该在页面位置相对居中;表单label(标签)右对齐;右侧显示提示信息,例如:描述该项填写的原因。**

- 表单的操作按钮(提交、保存)应该置于底部居中,建议操作按钮悬浮显示

表单显示
- 表单标签(label)可以不用设置宽度,可以通过颜色区分标签与值。推荐标签使用深色,值使用浅色。在整体上行程一个对齐的效果,避免出现标签与值之间出现空白。让数据有更好的紧凑性、整洁性。

报表
报表主要服务于数据展示,数据展示的方式多种多样,注意以表格和图表为主。
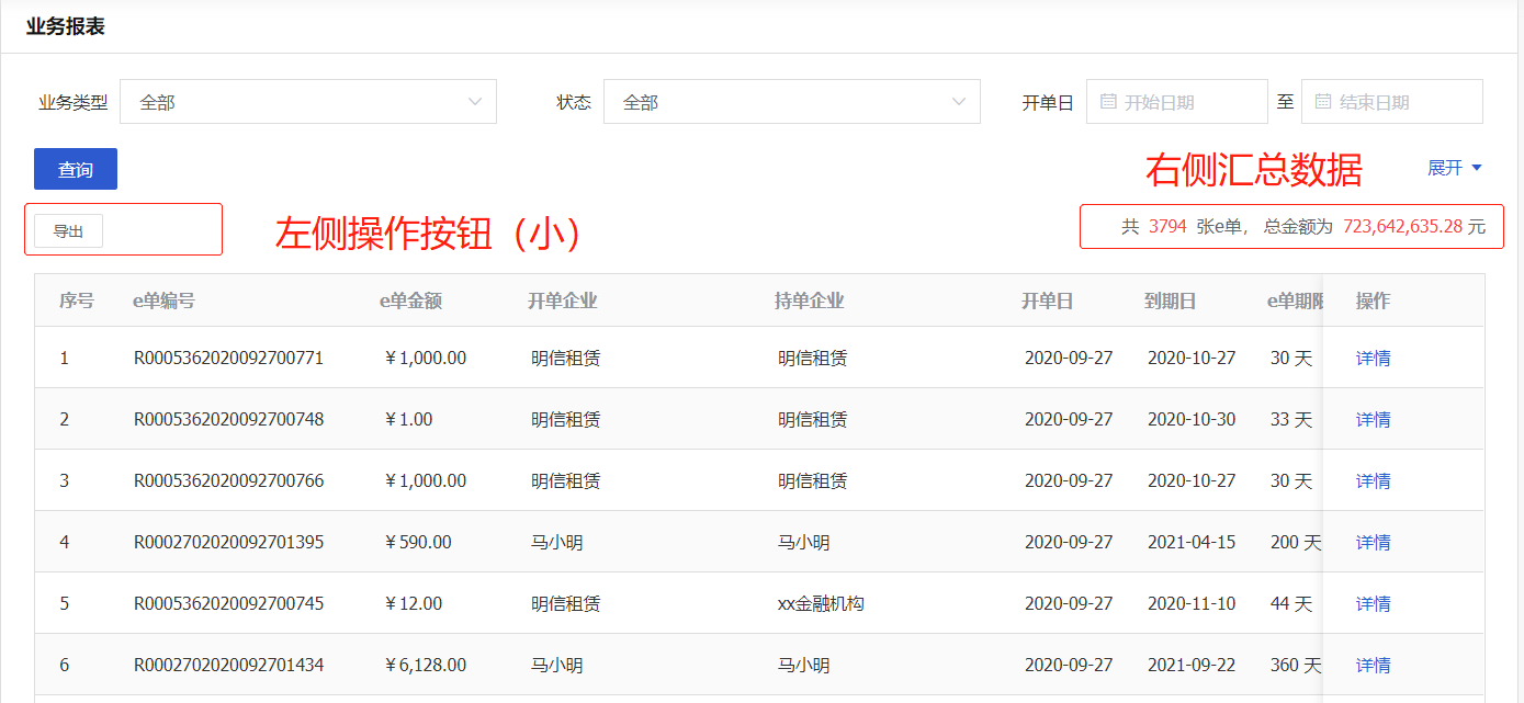
表格显示相关
建议点
- 选择列、序号列应该设置左悬浮,左侧列顺序应该为先为选择列,再者为序号列
- 操作列应该设置右悬浮;操作列按钮不宜超出3个;多出的按钮应该归于一个更多按钮;操作按钮建议文字为2个;如果操作按钮与当行数据有关,应该设置禁用;如果操作按钮不与当行数据有关,应该设置隐藏;
- 表格列中最少设置一列为弹性伸缩列,即设置min-width,防止表格在大屏下出现空白空间
- 表头应该尽可能不出现换行
- 表格内容显示,如果需要保持表格整齐可以设置文本过长时,显示悬浮信息,且单元格内做缩略显示

- 查询框应该可以展开/折叠,可以减少空间的使用,折叠效果建议显示两项与查询框的操作按钮


- 对于表格的操作与汇总信息,应该独立一个容器显示,左侧应该为操作按钮(按钮建议使用小按钮),右侧为汇总信息

表格编辑相关
建议点
- 报表的编辑应该尽可能减少页面跳转,如果编辑内容较少,应该使用弹框的方式进行编辑

